挖掘政务数据潜能,深度整合政务数据

互联网数据及第三方机构数据等,充分发挥涉企信用信息增信作用

银企信息不对称
解决方案

Bank - enterprise information asymmetry solution

预算单位综合财政
解决方案

Bank - enterprise information asymmetry solution

票据智能识别快速填单报销

Intelligent identification
of bills, fast filling and reimbursement

用款支出精细化管控

Use of the
expenditure of fine control

数据报表多维度展示

Multi-dimensional
presentation of data reports

实现票据凭证的全程共享,自动归档

Realize the full
sharing of vouchers, automatic archiving

产品介绍 Product Introduction
2021年2月,国家档案局会同财政部、商务部、国家税务总局,联合发布了【2021】1号文件《进一步扩大增值税电子发票电子化报销、入账、归档试点工作的通知》。[企业名称]公司整合自身票据归集、云报销、云财务和会计电子档案产品,以多租户微服务云架构为支撑,重新定义了预算单位综合财务业务全流程,打造了”预算单位综合数字化平台“。 该平台实现了票据智能归集、预算全程管控、简单报销、轻松入账、便捷核算、自动归档,可为预算单位及财政管理部门提供综合财务业务全流程一体化数字管理服务。

成品油税控
解决方案

Product tax control solution
行业背景 | Industry Background
近年来,随着我国交通运输事业发展迅速,机动车大量增加,加油站站点遍布城乡,成品油零售和批发业务越来越大,加油站行业已成为税务部门组织收入的重要行业,加强行业税收征管是税源管理的重点。各级税务部门对加油站的行业管理采取了一系列的征管措施,但是加油站销售方式多样化,进销渠道、方式复杂多样,该行业税源管理上普遍存在收入少、税负低、难管理等诸多问题,对加油站的税收管理成为税源精细化管理的一个难题。
管理框架 | Management Framework
近年来,随着我国交通运输事业发展迅速,机动车大量增加,加油站站点遍布城乡,成品油零售和批发业务越来越大,加油站行业已成为税务部门组织收入的重要行业,加强行业税收征管是税源管理的重点。各级税务部门对加油站的行业管理采取了一系列的征管措施,但是加油站销售方式多样化,进销渠道、方式复杂多样,该行业税源管理上普遍存在收入少、税负低、难管理等诸多问题,对加油站的税收管理成为税源精细化管理的一个难题。
产品特性 | Product Features
近年来,随着我国交通运输事业发展迅速,机动车大量增加,加油站站点遍布城乡,成品油零售和批发业务越来越大,加油站行业已成为税务部门组织收入的重要行业,加强行业税收征管是税源管理的重点。各级税务部门对加油站的行业管理采取了一系列的征管措施,但是加油站销售方式多样化,进销渠道、方式复杂多样,该行业税源管理上普遍存在收入少、税负低、难管理等诸多问题,对加油站的税收管理成为税源精细化管理的一个难题。
采集加油机数据的原理 | How data works
近年来,随着我国交通运输事业发展迅速,机动车大量增加,加油站站点遍布城乡,成品油零售和批发业务越来越大,加油站行业已成为税务部门组织收入的重要行业,加强行业税收征管是税源管理的重点。各级税务部门对加油站的行业管理采取了一系列的征管措施,但是加油站销售方式多样化,进销渠道、方式复杂多样,该行业税源管理上普遍存在收入少、税负低、难管理等诸多问题,对加油站的税收管理成为税源精细化管理的一个难题。

金融大数据综合治理
解决方案

Comprehensive financial big data governance plan
一健访问
数据服务
指标报表
行业资讯
消息提醒
用户竞争
权限流程
一健访问数据相关
One health access data related
江南科创打造的“瞰云”一站式智能化数据门户是创新型应用:通过统一登录,统一权限,统一运营来打造一站式数据工作平台,作为全行数据相关应用的流量入口,打通总行领导、业务部门、分支机构应用数据的最后一公里,提供便捷、高效、全面、智能、安全的数据服务,进而推广数字化分析应用。
立即申请
自助分析报表外部数据查询等数据服务
Self-service analysis reports External data query and other data services
江南科创打一站式智能化数据门户创新型应用:提供管理驾驶舱、自助分析、报表、外部数据查询等数据服务,满足决策层、管理层、执行层数据需求;通过管理驾驶舱、数据分析报告、自定义报表、大屏四大类数据应用,实现对工作的全局数据总揽、实时分析建议、阶段分析总结、自助分析报表和大屏宣传展示。
立即申请
展现全行数据的丰富性·利用率·高价值
Show the high value of data richness utilization across the bank
江南科创打一站式智能化数据门户创新型应用:通过指标的形式,以BI展现方式来体现全行数据的丰富性、利用率、高价值,作为全行数据工作的集中体现,业务部门可自行挖掘数据,持续解决供应链问题
立即申请
理解当前最新的行业新闻·行业政策·行业研报
Understand the latest industry news, industry policy and industry research
江南科创打一站式智能化数据门户创新型应用:通过行业资讯理解当前最新的行业新闻、行业政策、行业研报等相关信息;通过对特定行业的长期跟踪监测,分析行业需求、供给、经营特性、获取能力、产业链和价值链等多方面的内容,整合行业、市场、企业、用户等多层面信息资源
立即申请
获取当前最新的风险提醒信息
Get current and up-to-date risk alerts
江南科创打一站式智能化数据门户创新型应用:通过消息提醒获取当前最新的风险提醒信息以便于业务人员采取各种措施和方法,消灭或减少风险事件发生的各种可能性,或风险控制者减少风险事件发生时造成的损失
立即申请
促进用户更好的参与进而推动全行数字化转型
Promote better user participation and promote the digital transformation of the whole bank
江南科创打一站式智能化数据门户创新型应用:通过数据风云榜借鉴互联网营销中“用户竞争”心理促进用户更好的参与、使用系统进而推动全行数字化转型
立即申请
减少线下权限申请的步骤·提高工作效率
Reduce the steps of offline permission application to improve work efficiency
江南科创打一站式智能化数据门户创新型应用:通过数据风云榜借鉴互联网营销中“用户竞争”心理促进用户更好的参与、使用系统进而推动全行数字化转型;因此合并冗余环节、删除 不必要的环节也能有效提升流程处理效率。
立即申请

数据挖掘与分析
解决方案

Government data mining and analysis
系统政策背景
系统介绍
系统功能介绍
系统核心优势
01 系统政策背景
政府大数据战略化部署
Strategic deployment of government big data
促进大数据发展行动纲要(国发〔2015〕50号)
《行动纲要》的内容可以概括为“三位一体”,即围绕全面推动我国大数据发展和应用,加快建设数据强国这一总体目标,确定三大重点任务:一是加快政府数据开放共享,推动资源整合,提升治理能力;二是推动产业创新发展,培育新业态,助力经济转型;三是健全大数据安全保障体系,强化安全支撑,提高管理水平,促进健康发展。
国务院关于印发政务信息资源共享管理暂行办法的通知(国发〔2016〕51号)
发布了《政务信息资源共享管理暂行办法》,政务信息资源共享应遵循的原则:1、以共享为原则,不共享为例外;2、需求导向,无偿使用;3、统一标准,统筹建设;4、建立机制,保障安全。指出了建设共享交换平台系统是关键的基础设施。要求各地方政府根据国家发改委颁布的《政务信息资源目录编制指南》来编制、维护地方政务信息资源目录。还颁布了政务信息资源分类与共享要求、共享信息的提供与使用的要求。 “谁主管,谁提供,谁负责”的原则; “谁经手,谁使用,谁管理,谁负责”的原则;
政务信息系统整合共享实施方案(国办发〔2017〕39号)
推进整合,加快部门内部信息系统整合共享
促进共享,推进接入统一数据共享交换平台
推动公开,强化协同,加快公共数据开放网站建设
2018年《政府工作报告》
李克强总理在《政府工作报告》中强调:加快新旧发展动能接续转换,深入开展“互联网+”行动,推动大数据、云计算、物联网广泛应用
中央部委行业应用政策热点
Central ministries and commissions industry application policy hotspot
51号文
国务院关于印发政务信息资源共享管理暂行办法的通知(2016)

39号文
国务院办公厅关于印发政务信息系统整合共享实施方案的通知(2017)

1272号文
国家发展改革委 、中央网信办关于印发《政务信息资源目录编制指南(试行)》(2017)

1529号文
五部门关于印发《加快推进落实<政务信息系统整合共享实施方案>工作方案》的通知(2017)

1714号文
关于开展政务信息系统整合共享应用试点的通知(2017)

02 系统介绍
地方性政策法规
Local policies and regulations
湖北
省人民政府办公厅关于印发《湖北省政务信息资源共享管理办法》和《湖北省政务信息化项目建设管理办法》的通知 鄂政办发〔2018〕59号


为了规范和促进政务数据资源应用与管理,加快培育发展数据要素市场,提高政府治理能力和公共服务水平,根据有关法律、法规的规定,结合本省实际,制定本办法。政务数据共享开放和开发利用应当落实数据安全管理要求,遵守保护国家秘密、商业秘密和个人隐私的相关规定,不得损害国家利益、社会公共利益和第三方合法权益。省人民政府统一领导全省政务数据资源应用与管理工作,建立议事协调机制,统筹协调政务数据资源应用与管理工作中的重大事项。 市(州)和县级人民政府负责本行政区域政务数据应用与管理工作。省级政务部门应当加强对本系统、本行业和下属单位政务数据应用与管理工作的监督指导,明确行业标准,督促做好数据资源归集、共享开放与应用等相关工作。
总体架构
Overall architecture
思考问题
Think about the problem
有哪些政务信息资源?
政务信息资源在哪里?
谁提供? 谁使用?
如何发布?如何应用?
价值体现
Embodiment of value
推进整合
加快推动分散隔离的政务信息系统整合共享,实现互联互通、业务协同、信息共享
数据编目
开展政务信息资源目录编制,建立政务信息资源目录体系,实现数据规范管理
数据标准
构建政务信息共享标准体系,建立健全政务信息资源数据标准
促进共享
构建多级互联的数据共享交换平台体系,促进政务信息向各级政府部门共享
强化协同
建设政务信息共享网站和共享交换平台,支撑政府部门间的信息共享与业务协同
决策支持
在共享数据的基础上,对数据资源进行深层次的综合利用,为政府决策提供科学依据
共享原则
Sharing principle
以共享为原则,不共享为例外
各政务部门形成的政务信息资源原则上应予共享,涉及国家秘密和安全的,按相关法律法规执行。
需求导向,无偿使用
因履行职责需要使用共享信息的部门提出明确的共享需求和信息使用用途,共享信息的产生和提供部门应及时响应并无偿提供共享服务。
统一标准,统筹建设
按照国家政务信息资源相关标准进行政务信息资源的采集、存储、交换和共享工作,坚持“一数一源”、多元校核,统筹建设政务信息资源目录体系和共享交换体系.
建立机制,保障安全
联席会议统筹建立政务信息资源共享管理机制和信息共享工作评价机制,各政务部门和共享平台管理单位应加强对共享信息采集、共享、使用全过程的身份鉴别、授权管理和安全保障,确保共享信息安全。
资源目录管理体系
Resource directory management system
数据汇聚
Data aggregation
质量安全管理
Quality and safety management
建设规范
Construction specification
基础信息库
Basic information base
03 系统功能介绍
首页 - 交换监控
Switching monitoring
数据中心 - 数据源管理、数据表管理
Data center
资源注册 - 系统注册、接口注册、文件服务注册、文档管理
Resource registration
报文管理 - 报文标准
Message management
流程管理 - 库表流程、报文流程、文件流程
Process management
服务管理 - 服务发布、服务监控
Service management
运行管理 - 节点管理、运行监控、交换监控
Operation management
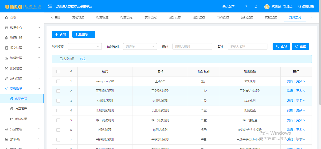
数据质量 - 规则定义、方案管理、稽核结果
Data quality
安全管理 - 令牌管理、数据日志
Safety management
报表设计 - 积木报表设计、生产销售监控、智慧物流监控
Report design
在线开发 - Online表单开发、Online表单配置、系统编码规则、系统检验规则
Online development
系统管理 - 用户管理、角色管理、菜单管理、租户管理、部门管理...
System management
系统监控 - 在线用户、路由网关、定时任务、日志管理、数据日志...
System monitoring
消息中心 - 消息管理、模板管理、我的消息
Message center
表单页 - 基础表单、分布表单、高级表单
Form page
常见案例
Common case
04 系统核心优势
系统核心优势
System core advantage
J N K C | 让 更 多 人 获 得 科 技 带 来 的 收 获
Jiangnan Scientific lnnovation Let more people gain from technology
JOY
喜悦 成功 好运
SUNNY
乐观 阳光 开朗
INSPIRE
鼓舞 启发 激励

江南科创
创造价值 分享价值

Jiangnan Scientific lnnovation Create value share value
数 据 驱 动 价 值 · 创 新 引 领 未 来 立 即 咨 询 获 取 专 属 解 决 方 案 →
Copyright © 2022 JIANGNANKECHUANG 版权所有:武汉江南科创信息技术有限公司 备案号:鄂ICP备2022017262号-1